Waybox Pro & Pro Cellular - Manuel de l'Utilisateur

Ce manuel en ligne vous explique comment installer et utiliser votre Waybox Pro & Pro Cellular.

Contenu de l’emballage

Características y dimensiones

Caractéristiques

Dimensions

Outils requis

  • Tournevis Phillips
  • Crayon ou marqueur
  • Clé hexagonale de 4 mm
  • Clé de 8 mm
  • Clé hexagonale de 2.5 mm avec couple de serrage de 1.3 Nm
  • Pour les bâtiments en briques ou en béton :
    • Marteau
    • Foret à maçonnerie pour Chevilles M8

 

REMARQUE: Lors de l’installation d’une Waybox Pro Cellular dans une zone à faible réception, une antenne externe est recommandée. Pour plus d’informations, reportez-vous à la section Prérequis pour l’installation.

Instalación

Prérequis pour l’installation

La Waybox doit être installée par un électricien qualifié, conformément aux spécifications suivantes :

  • À portée du port de charge du véhicule
  • Unités équipées d’une connexion Wi-Fi (Waybox Pro & Pro Cellular) : À portée du réseau Wi-Fi local (compatible IEEE 802.11b/g/n à 2,4 GHz)

    Unités équipées d’une connexion cellulaire (Waybox Pro Cellular) : À portée de la couverture cellulaire mobile. Si la réception est faible, nous vous recommandons une antenne externe et un extenseur de câble avec les caractéristiques suivantes :

    • Antenne externe : Omnidirectionnelle, gain élevé avec connecteur coaxial
    • Extenseur de câble : Câble coaxial à faible perte

     

  • À 150-160 cm au-dessus du sol.
  • Un dispositif de protection contre les surtensions comprenant à la fois un disjoncteur (MCB) courbe D et un disjoncteur différentiel à courant résiduel (DDR) de type A :

Câbles d’alimentation avec les caractéristiques suivantes :

  • REMARQUE : Chaque câble doit avoir une résistance de moins de 150 Ω.

 

  • REMARQUE : Dans le tableau ci-dessous, le terme « dissimulé » fait référence aux fils acheminés à l’intérieur des murs du site d’installation.

 

  • REMARQUE : Les spécifications de câble d’alimentation présentes dans le tableau ci-dessous sont recommandées pour une installation normale. Dans certains cas, par exemple si les câbles doivent couvrir une longue distance, un installateur certifié est susceptible d’utiliser un câblage d’un plus gros calibre.

Instalation

 

REMARQUE : La Waybox doit être installée par un électricien qualifié.

  1. Vérifiez que le câble d’entrée n’est pas sous tension. Le cas échéant, désarmez le disjoncteur correspondant au câble d’entrée.

AVERTISSEMENT : Ne poursuivez pas cette procédure tant que vous ne vous êtes pas assuré que le câble d’entrée n’est pas sous tension.

  1. Installez les viroles sur les fils du câble d’entrée.
  2. Retirez bornier des câbles. Ce composant sera utilisé dans une étape ultérieure.
  3.  
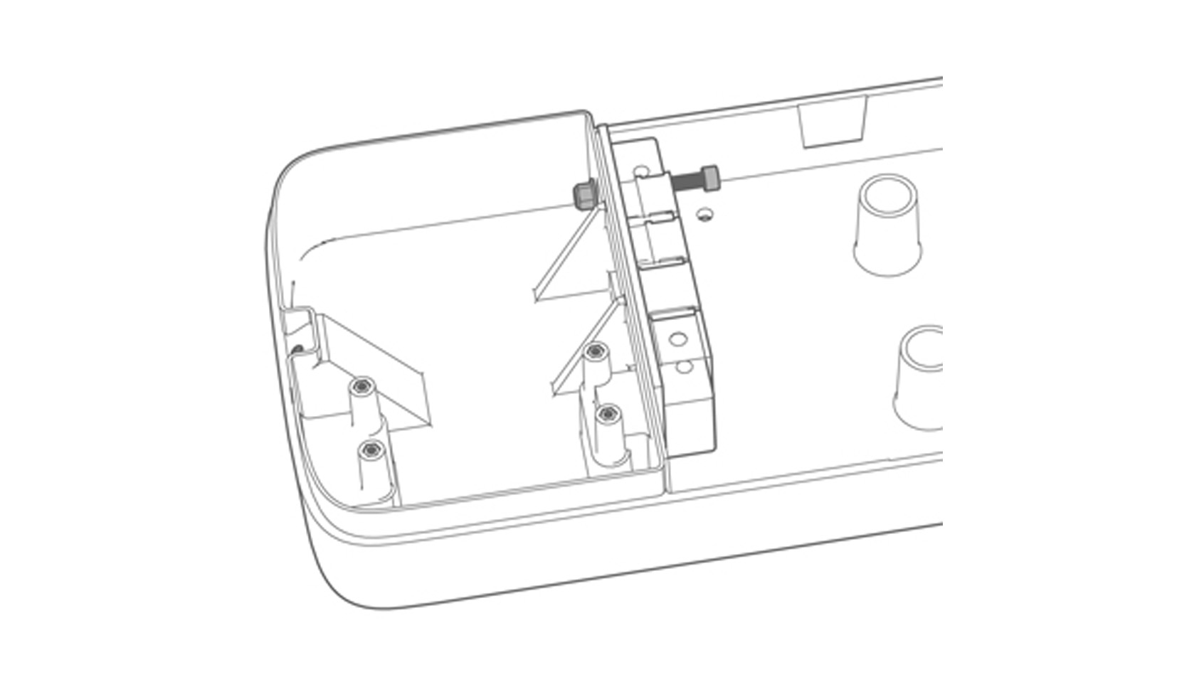
4.  Avec une clé hexagonale de 4 mm, dévissez les vis (x2) qui retiennent la protection du bloc d’étanchéité. Retirez la protection du bloc d’étanchéité.

5.  IIdentifiez la vis de droite qui retient le bloc d’étanchéité. Maintenez l’écrou correspondant à l’aide d’une clé de 8 mm, puis dévissez la vis à l’aide d’une clé hexagonale de 4 mm.

REMARQUE : Il n’est pas nécessaire de retirer complètement la vis. Elle devra être revissée lors d’une étape ultérieure.

6. Identifiez la vis de gauche qui retient le bloc d’étanchéité. Accédez à l’écrou de la vis en bas du support mural. Maintenez cet écrou à l’aide d’une clé de 8 mm, puis desserrez la vis à l’aide d’une clé hexagonale de 4 mm.

REMARQUE : Il n’est pas nécessaire de retirer complètement la vis. Elle devra être revissée lors d’une étape ultérieure.

7.  Retirez les 2 éléments d’étanchéité du bloc d’étanchéité.
REMARQUE : Si vous installez une antenne externe (Waybox Pro Cellular) : Retirez les 3 éléments d’étanchéité du bloc d’étanchéité. Débarrassez-vous de l’élément d’étanchéité le plus à droite, qui ne comporte pas de trous.

8.  Faites passer les fils d’entrée à travers le trou correspondant du support mural :

REMARQUE : à ce stade, ne fixez pas encore le support mural au mur.

 

 

1  

Orificio en la parte trasera del marco para pared: Recomendado para cables de entrada ocultos

2  

Orificio en la parte inferior del marco para pared: Recomendado para cables de entrada no ocultos

 

NOTA: Si instala una antena externa (JuiceBox Pro Cellular): Conecte la antena externa al alargador del cable coaxial, luego tienda el cable del alargador del cable coaxial en el marco para pared a través del orificio en la parte inferior del marco para pared.

 

9.  Tienda los cables de entrada a través de los sellos:

 

Sello con 1 orificio: Cable de conexión a tierra

 

Sello con 2 o 4 orificios: Cable L1, L2 (si corresponde), L3 (si corresponde) y neutro (no tiene importancia la posición de cada hilo individual dentro del sello)

 

REMARQUE : Si vous installez une antenne externe (Waybox Pro Cellular) : Faites passer le câble de l’extenseur coaxial dans l’élément d’étanchéité inclus.

10.  Faites passer les fils à travers la cloison vers la partie supérieure du boîtier, comme illustré.
REMARQUE : Si vous installez une antenne externe (Waybox Pro Cellular) : Faites aussi passer l’extenseur de câble coaxial à travers la cloison vers la partie supérieure du boîtier, comme illustré.
11. Tirez les fils le plus loin possible dans la partie supérieure du boîtier, puis réinstallez les deux éléments d’étanchéité dans le bloc d’étanchéité.
REMARQUE : Si vous installez une antenne externe (Waybox Pro Cellular) : Installez l’élément d’étanchéité qui abrite l’extenseur de câble coaxial.

12. Pour les deux vis qui fixent le bloc d’étanchéité au support mural, maintenez l’écrou à l’aide d’une clé de 8 mm, tout en vissant la vis à l’aide d’une clé hexagonale de 4 mm (reportez-vous aux étapes 5 et 6).

 

13. Installez la protection du bloc d’étanchéité et les vis (x2) (reportez-vous à l’étape 4).

 

14. Installez la ferrite autour des fils d'entrée à la base du bloc d'étanchéité.

 



REMARQUE : il n'est pas nécessaire d'enfermer la rallonge de câble coaxial dans la ferrite.

 

15. Placez le support mural comme vous le souhaitez. Tout en maintenant le support mural en place, servez-vous des 4 trous de fixation du support mural en guise de modèle, afin de marquer les endroits où percer le mur.

 

16. À l’aide d’un foret de 8 mm, percez des trous de 50 mm de profondeur dans le mur, aux points marqués lors de l’étape précédente. Installez les 4 chevilles.

17. Installez le support mural à l’aide des vis et des rondelles fournies
18. Dévissez les vis des bornes sur les côtés du bornier (x6). Raccordez les fils au bornier. Assurez-vous que chacun des différents fils se loge bien en place, puis vissez la vis de sa borne. Procédez à un test de tirage pour vérifier que les fils sont bien maintenus.
19. Installez les vis (x4) pour fixer le bornier.
20. Si vous installez une antenne externe (Waybox Pro Cellular) : Débrancher l’antenne interne du connecteur à l’arrière de la Waybox pour qu’elle soit libre de tout mouvement. Branchez l’extenseur de câble coaxial au connecteur situé à l’arrière de la Waybox.
21. Mettez le câble d’entrée sous tension.

Voyant LED

Informations de sécurité importantes

 

Veuillez lire toutes les informations de sécurité avant d’installer ce produit.

 

AVERTISSEMENT : Cet appareil doit être surveillé lorsqu’il est utilisé en présence d’enfants.

 

 

 

AVERTISSEMENT : Ne placez pas les doigts dans le connecteur du véhicule électrique.

 

AVERTISSEMENT : N’utilisez pas ce produit si le câble d’alimentation flexible ou le câble du véhicule est dénudé, si leur isolation est endommagée ou s’ils présentent un autre signe de dommage.

 

AVERTISSEMENT : À utiliser uniquement avec des véhicules électriques.

 

AVERTISSEMENT : N’utilisez pas cet appareil avec une rallonge.

 

AVERTISSEMENT : Ne retirez pas le cache et ne tentez pas d’ouvrir le boîtier. Il ne contient aucune pièce réparable par l’utilisateur. En cas de maintenance, faites appel à du personnel qualifié.

 

AVERTISSEMENT : Installez et utilisez la Waybox à l’écart de vapeurs, matériaux ou produits chimiques inflammables, explosifs, agressifs ou combustibles.

 

AVERTISSEMENT : Ne faites pas fonctionner laY Waybox hors de sa plage de températures comprise entre -25 °C et +50 °C.

 

AVERTISSEMENT : Cet appareil est uniquement conçu pour les véhicules électriques qui ne requièrent pas de ventilation lors de la charge.

 

AVERTISSEMENT : Ce produit doit être relié à la terre. En cas de dysfonctionnement ou de panne, la mise à la terre fournit un chemin de moindre résistance au courant électrique afin de réduire le risque d’électrocution.

 

AVERTISSEMENT : Le mauvais raccordement du conducteur de mise à la terre de l’équipement peut entraîner un risque d’électrocution. En cas de doute, vérifiez auprès d’un électricien qualifié ou d’un technicien de maintenance si le produit est correctement relié à la terre.

 

Informations utilisateur relatives à la fin de vie des équipements électriques et électroniques

 

En vertu des lois et réglementations locales et selon l’article 14 de la directive 2012/19/UE relative aux déchets d’équipements électriques et électroniques (DEEE), le symbole représentant une poubelle barrée, présent sur l’équipement ou sur son emballage, indique que le produit doit être mis au rebut séparément des déchets ménagers. Lorsque ce produit arrive en fin de vie, apportez-le dans un centre de collecte des déchets désigné par les autorités locales. La collecte séparée et le recyclage de ce produit lors de sa mise au rebut contribueront à la préservation des ressources naturelles et à son recyclage dans le respect de la santé humaine et de l’environnement.